Handle z4 r25
Innovative door handle Ø25 mm made from an aluminium rod, mounted at 90°. The handle bar is powder-coated in red with a fine texture, finished with an aluminium rosette anodised in black, as are the brackets. Suitable for all types of door leaves.
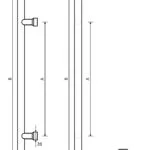
See dimensions table ↓Dimensions
| Length [mm] = B | Spacing [mm] = A |
|---|---|
| 370 | 250 |