About Us
Handles
Fixings
Catalogue
Contact
🇵🇱
🇬🇧
🇩🇪
Home
∣
Catalogue
∣
Handle z48
Handle
z48
Handle made of stainless steel.
See dimensions table ↓
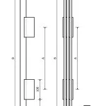
Dimensions
Length [mm] = B
Spacing [mm] = A
1000
700
← previous
Handle z47
next →
Handle z49