About Us
Handles
Fixings
Catalogue
Contact
🇵🇱
🇬🇧
🇩🇪
Home
∣
Catalogue
∣
Handle z50
Handle
z50
Handle made of stainless steel.
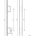
See dimensions table ↓
Dimensions
Length [mm] = B
Spacing [mm] = A
1000
700
← previous
Handle z49
next →
Handle z51