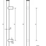
Pochwyt z35
Pochwyt drzwiowy wykonany z miedzi i stali nierdzewnej lakierowanej na czarny mat.
Patrz na tabelę długości ↓Wymiary
| Długość [mm] = B | Rozstaw [mm] = A |
|---|---|
| 500 | 300 |
Pochwyt drzwiowy wykonany z miedzi i stali nierdzewnej lakierowanej na czarny mat.
Patrz na tabelę długości ↓| Długość [mm] = B | Rozstaw [mm] = A |
|---|---|
| 500 | 300 |